Запчасти для грузовых автомобилей
8-800-555-32-41
Перезвоните мне
Отправить готовую заявку
0
Корзина
Поиск
КАТАЛОГ ПРОДУКЦИИ
Запчасти УРАЛ
Запчасти КамАЗ
Запчасти АМТ
Запчасти ЧТЗ
Запчасти погрузчиков Dalian
Запчасти ЯМЗ
Двигатели ЯМЗ в сборе
Запчасти Shaanxi Fast Gear
Лебедки
Спецпредложения
О компании
Доставка и оплата
Гарантии и сервис
Контакты
Графические каталоги запчастей
Топливные трубопроводы ЯМЗ-8423
Главная
/
Графические каталоги
/
ЯМЗ
/
ЯМЗ-8423
/
Топливные трубопроводы
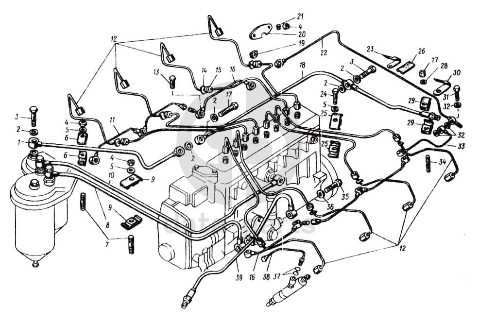
1
2
2
2
2
2
3
3
4
4
4
5
5
5
6
6
7
8
9
9
10
11
12
12
13
14
15
16
16
17
18
19
20
21
22
23
24
25
25
26
27
28
29
29
30
31
32
32
33
34
35
36
37
38
39
%
1
842.1104384-10
Трубка отводящая топливного фильтра
Кол-во
1
?
Оставить заявку
2
312326-П
Шайба 14
Кол-во
7
?
Узнать цену
312326-П
Шайба 14.2х19х1.2 ЯМЗ медная (плоская)
Производство:
ПАО Автодизель (ЯМЗ)
Под заказ
91
p
В корзину
3
310096-П29
Болт
Кол-во
2
?
Узнать цену
310096-П29
Болт-штуцер М14х1.5 МАЗ трубок топливных на ТНВД
Производство:
ПАО Автодизель (ЯМЗ)
Под заказ
199
p
В корзину
4
250511-П29
Гайка
Кол-во
19
?
Узнать цену
250511-П29
Гайка М8х1.0х6 крепления карбюратора, насоса водяного, ЗИЛ ГАЗ многоцелевая, М-2140 коллектора латунная
Производство:
ПАО Автодизель (ЯМЗ)
194 в наличии
17
p
В корзину
5
252005-П29
Шайба плоская
Кол-во
7
?
Узнать цену
252005-П29
Шайба ЯМЗ-534 компрессора 8.01.016
Производство:
ПАО Автодизель (ЯМЗ)
106 в наличии
9
p
В корзину
252005-П29
Шайба ЯМЗ-534 компрессора 8.01.016
Производство:
АЗ Урал
Под заказ
13
p
В корзину
6
840.1104514
Скоба в сборе
Кол-во
2
?
Узнать цену
840.1104514
СКОБА
Производство:
ПАО Автодизель (ЯМЗ)
Под заказ
58
p
В корзину
7
216531-П29
Шпилька
Кол-во
3
?
Узнать цену
216531-П29
ШПИЛЬКА М8Х35
Производство:
ПАО Автодизель (ЯМЗ)
Под заказ
261
p
В корзину
8
8421.1104422
Трубка отводящая топливоподкачивающего насоса
Кол-во
1
?
Оставить заявку
9
840.1104446
Скоба крепления трубок в сборе
Кол-во
4
?
Узнать цену
840.1104446
СКОБА
Производство:
ПАО Автодизель (ЯМЗ)
Под заказ
180
p
В корзину
10
8421.1104426
Трубка подводящая кТНВД
Кол-во
1
?
Оставить заявку
11
8423.1104373
Трубка дренажная длинная
Кол-во
2
?
Оставить заявку
12
840.1112402
Трубка высокого давления
Кол-во
8
?
Оставить заявку
13
310122-П29
Болт М10х1х22
Кол-во
6
?
Узнать цену
310122-П29
Болт-штуцер М10х1.0х21 МАЗ крепления трубки дренажной к ТНВД
Производство:
Россия
Под заказ
цена по запросу
В корзину
310122-П29
Болт-штуцер М10х1.0х21 МАЗ крепления трубки дренажной к ТНВД
Производство:
ПАО Автодизель (ЯМЗ)
Под заказ
148
p
В корзину
14
240.1104342
Шайба
Кол-во
8
?
Оставить заявку
15
240.1104343
Шайба
Кол-во
8
?
Оставить заявку
16
8423.1104375
Трубка топливная дренажная короткая
Кол-во
2
?
Оставить заявку
17
310236-П29
Болт
Кол-во
1
?
Узнать цену
310236-П29
Болт-штуцер М14х1.5х48 МАЗ маслоподводящий к турбокомпрессору
Производство:
ПАО Автодизель (ЯМЗ)
15 в наличии
269
p
В корзину
18
842.1104382-10
Трубка отводящая топливного насоса высокого давления
Кол-во
1
?
Оставить заявку
19
240-1104344-А
Уплотнитель
Кол-во
8
?
Узнать цену
240-1104344-А
Уплотнитель трубок ТНВД ф6х18 L=15 (РТИ) ЯМЗ 240, 7511, 8401, 8421, 8423, 850
Производство:
ПАО Автодизель (ЯМЗ)
Под заказ
70
p
В корзину
20
240-1104345-Б
Фланец
Кол-во
8
?
Узнать цену
240-1104345-Б
Фланец крепления трубок БЕЛАЗ
Производство:
ПАО Автодизель (ЯМЗ)
14 в наличии
516
p
В корзину
21
252135-П2
Шайба пружинная
Кол-во
16
?
Узнать цену
252135-П2
Шайба 8х2.5 ЯМЗ заглушки блока цилиндров
Производство:
ПАО Автодизель (ЯМЗ)
495 в наличии
3
p
В корзину
22
8423.1104370-01
Трубка дренажная
Кол-во
1
?
Оставить заявку
23
840.1104825
Кляммер крепления дренажной трубки
Кол-во
2
?
Узнать цену
840.1104825
КЛЯММЕР
Производство:
ПАО Автодизель (ЯМЗ)
Под заказ
33
p
В корзину
24
201462-П29
Болт М8х35
Кол-во
4
?
Узнать цену
201462-П29
БОЛТ
Производство:
ПАО Автодизель (ЯМЗ)
Под заказ
71
p
В корзину
25
840.1112528
Скоба
Кол-во
8
?
Узнать цену
840.1112528
СКОБА
Производство:
ПАО Автодизель (ЯМЗ)
Под заказ
102
p
В корзину
26
840.1104336
Прокладка
Кол-во
3
?
Узнать цену
840.1104336
Прокладка 16х23 (профиль 236-1104274)
Производство:
ПАО Автодизель (ЯМЗ)
Под заказ
7
p
В корзину
27
250517-П29
Гайка
Кол-во
2
?
Узнать цену
250517-П29
Гайка М10х1,25-6Н (подвески РДВ)
Производство:
ПАО Автодизель (ЯМЗ)
22 в наличии
13
p
В корзину
250517-П29
Гайка М10х1,25-6Н (подвески РДВ)
Производство:
АЗ Урал
Под заказ
20
p
В корзину
28
252136-П2
Шайба 10 пружинная
Кол-во
2
?
Узнать цену
252136-П2
Шайба 10.2х2.5 пружинная
Производство:
ПАО Автодизель (ЯМЗ)
509 в наличии
11
p
В корзину
29
8423.1104440
Колодка
Кол-во
4
?
Оставить заявку
30
8423.1104825
Кляммер
Кол-во
1
?
Оставить заявку
31
310239-П29
Болт
Кол-во
3
?
Узнать цену
310239-П29
Болт-штуцер М10х1.0х40 МАЗ трубки подводящей к ТНВД
Производство:
ПАО Автодизель (ЯМЗ)
Под заказ
494
p
В корзину
32
312482-П34
Шайба
Кол-во
21
?
Узнать цену
312482-П34
Шайба 10.2х14.0х1.5 ЯМЗ крепления трубки топливной медная
Производство:
ПАО Автодизель (ЯМЗ)
Под заказ
91
p
В корзину
33
842.1104346
Трубка дренажная
Кол-во
1
?
Оставить заявку
34
216559-П29
Шпилька
Кол-во
2
?
Оставить заявку
35
310264-П29
Болт
Кол-во
5
?
Узнать цену
310264-П29
Болт М16х1.5х37 ЯМЗ насоса масляного
Производство:
ПАО Автодизель (ЯМЗ)
11 в наличии
371
p
В корзину
36
201-1015624
Прокладка
Кол-во
10
?
Узнать цену
201-1015624
Шайба 16.0х22.0х1.5 ЯМЗ ФГОТ медная (плоская)
Производство:
ПАО Автодизель (ЯМЗ)
Под заказ
100
p
В корзину
37
238-1723026
Кольцо уплотнительное
Кол-во
16
?
Оставить заявку
38
840.1104361-10
Трубка форсунки дренажная
Кол-во
8
?
Узнать цену
840.1104361-10
Трубка топливная ЯМЗ-8401, 850 дренажная форсунок
Производство:
ПАО Автодизель (ЯМЗ)
49 в наличии
1 109
p
В корзину
39
8423.1104410
Трубка подводящая топливоподкачиваю-щего насоса
Кол-во
1
?
Оставить заявку
Получить консультацию
У нас большой опыт по подбору запчастей, и мы с радостью поможем вам найти нужную деталь, даже если вы не знаете ее артикул
Дмитрий Иванов
Директор отдела продаж
Мобильный номер:
8 (912) 474-74-74
E-mail:
td.uralval@mail.ru
Вы должны включить JavaScript чтобы использовать эту форму.
Ваше имя
Ваш телефон
Комментарий
Я соглашаюсь с
Политикой конфиденциальности
и даю согласие на обработку персональных данных.
Feed me
Отправить