Запчасти для грузовых автомобилей
8-800-555-32-41
Перезвоните мне
Отправить готовую заявку
0
Корзина
Поиск
КАТАЛОГ ПРОДУКЦИИ
Запчасти УРАЛ
Запчасти КамАЗ
Запчасти АМТ
Запчасти ЧТЗ
Запчасти погрузчиков Dalian
Запчасти ЯМЗ
Двигатели ЯМЗ в сборе
Запчасти Shaanxi Fast Gear
Лебедки
Спецпредложения
О компании
Доставка и оплата
Гарантии и сервис
Контакты
Графические каталоги запчастей
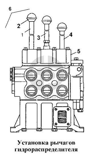
Установка рычагов гидрораспределителя Т-170
Главная
/
Графические каталоги
/
ЧТЗ
/
Т-170
/
Установка рычагов гидрораспределителя
1
2
3
4
5
6
%
1
18-26-879-02
Рычаг
Кол-во
1
?
Оставить заявку
2
13310-СП
Рукоятка
Кол-во
3
?
Оставить заявку
3
18-26-879-01
Рычаг
Кол-во
1
?
Оставить заявку
4
18-26-879
Рычаг
Кол-во
1
?
Оставить заявку
5
Гидрораспределитель Р160-3/1-111
Гидрораспределитель Р160-3/1-111
Кол-во
1
?
Оставить заявку
6
50-26-702-СП
Гидрораспределитель
Кол-во
1
?
Оставить заявку
Получить консультацию
У нас большой опыт по подбору запчастей, и мы с радостью поможем вам найти нужную деталь, даже если вы не знаете ее артикул
Дмитрий Иванов
Директор отдела продаж
Мобильный номер:
8 (912) 474-74-74
E-mail:
td.uralval@mail.ru
Вы должны включить JavaScript чтобы использовать эту форму.
Ваше имя
Ваш телефон
Комментарий
Я соглашаюсь с
Политикой конфиденциальности
и даю согласие на обработку персональных данных.
Feed me
Отправить