Запчасти для грузовых автомобилей
8-800-555-32-41
Перезвоните мне
Отправить готовую заявку
0
Корзина
Поиск
КАТАЛОГ ПРОДУКЦИИ
Запчасти УРАЛ
Запчасти КамАЗ
Запчасти АМТ
Запчасти ЧТЗ
Запчасти погрузчиков Dalian
Запчасти ЯМЗ
Двигатели ЯМЗ в сборе
Запчасти Shaanxi Fast Gear
Лебедки
Спецпредложения
О компании
Доставка и оплата
Гарантии и сервис
Контакты
Графические каталоги запчастей
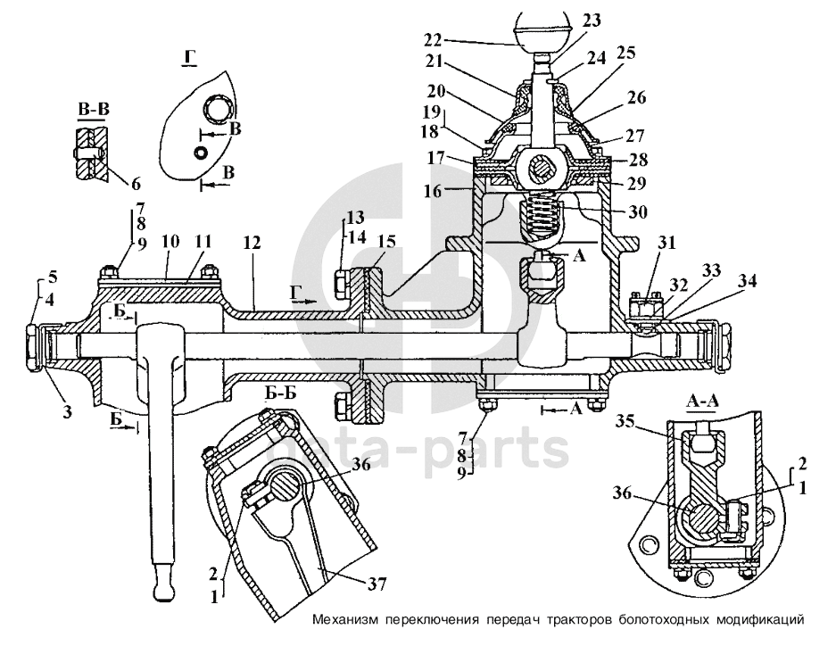
Механизм переключения передач тракторов болотоходных модификаций Т-170
Главная
/
Графические каталоги
/
ЧТЗ
/
Т-170
/
Механизм переключения передач тракторов болотоходных модификаций
1
1
2
2
3
4
5
6
7
7
8
8
9
9
10
11
12
12
13
14
15
16
16
17
18
19
20
21
22
23
23
24
25
26
27
28
29
30
31
32
33
34
35
36
36
37
%
1
700-31-2542
Пластина стопорная
Кол-во
2
?
Оставить заявку
2
700-28-2336
Болт
Кол-во
4
?
Оставить заявку
3
40588
Прокладка
Кол-во
4
?
Оставить заявку
4
700-37-2154
Пробка
Кол-во
2
?
Оставить заявку
5
31368
Шайба
Кол-во
2
?
Оставить заявку
6
32349
Штифт
Кол-во
1
?
Оставить заявку
7
Гайка М8х1.6.019
Гайка М8х1.6.019
Кол-во
8
?
Оставить заявку
8
Шайба 8Т 65Г 09
Шайба 8Т 65Г 09
Кол-во
8
?
Оставить заявку
9
Шпилька 2М8х1,25х18.66.016
Шпилька 2М8х1,25х18.66.016
Кол-во
8
?
Оставить заявку
10
18-12-246
Крышка
Кол-во
2
?
Оставить заявку
11
700-40-3072-01
Прокладка
Кол-во
2
?
Оставить заявку
12
20-12-86
Проставка задняя левая
Кол-во
1
?
Оставить заявку
12
20-12-85
Проставка задняя правая
Кол-во
1
?
Оставить заявку
13
28431
Болт
Кол-во
4
?
Оставить заявку
14
Шайба 160Т65Г 09
Шайба 160Т65Г 09
Кол-во
4
?
Оставить заявку
15
700-40-3254
Прокладка
Кол-во
1
?
Оставить заявку
16
20-12-84
Проставка передняя левая
Кол-во
1
?
Оставить заявку
16
20-12-80
Проставка передняя правая
Кол-во
1
?
Оставить заявку
17
13317
Фланец шаровой
Кол-во
2
?
Узнать цену
13317
Фланец шаровой внутренний
Производство:
ЧТЗ
Под заказ
цена по запросу
В корзину
18
Болт М10х30.58.019
Болт М10х30.58.019
Кол-во
4
?
Оставить заявку
19
Шайба 10 ОТ 65Г 09
Шайба 10 ОТ 65Г 09
Кол-во
0
?
Оставить заявку
20
13319
Крышка
Кол-во
1
?
Узнать цену
13319
Крышка шарового фланца
Производство:
ЧТЗ
Под заказ
цена по запросу
В корзину
21
13591
Крышка
Кол-во
1
?
Оставить заявку
22
13310 СП
Рукоятка в сборе
Кол-во
1
?
Оставить заявку
23
18-12-161 СП
Рычаг правый
Кол-во
1
?
Оставить заявку
23
18-12-162 СП
Рычаг левый
Кол-во
1
?
Оставить заявку
24
Шплинт 4х32
Шплинт 4х32
Кол-во
1
?
Оставить заявку
25
46612
Колпачок
Кол-во
1
?
Оставить заявку
26
40820: КО 50х70-2
Кольцо
Кол-во
1
?
Оставить заявку
27
13318
Фланец шаровой
Кол-во
1
?
Узнать цену
13318
Фланец шаровой наружный
Производство:
ЧТЗ
Под заказ
цена по запросу
В корзину
28
40819, 40819-1
Прокладка
Кол-во
3
?
Оставить заявку
29
13360
Кольцо
Кол-во
1
?
Узнать цену
13360
Кольцо
Производство:
ЧТЗ
Под заказ
цена по запросу
В корзину
30
38325
Пружина
Кол-во
2
?
Узнать цену
38325
Пружина
Производство:
ЧТЗ
Под заказ
цена по запросу
В корзину
31
Выключатель ВК-418 3716000
Выключатель ВК-418 3716000
Кол-во
1
?
Оставить заявку
32
21-12-50
Прокладка
Кол-во
7
?
Оставить заявку
33
Кольцо 014-018-25-2-2
Кольцо 014-018-25-2-2
Кол-во
1
?
Оставить заявку
34
18-12-411
Пластина
Кол-во
1
?
Оставить заявку
35
20-12-91
Хвостовик
Кол-во
1
?
Узнать цену
20-12-91
Хвостовик
Производство:
ЧТЗ
Под заказ
цена по запросу
В корзину
36
20-12-79
Валик
Кол-во
1
?
Оставить заявку
36
20-12-92
Валик
Кол-во
1
?
Оставить заявку
37
20-12-90
Рычаг
Кол-во
1
?
Оставить заявку
Получить консультацию
У нас большой опыт по подбору запчастей, и мы с радостью поможем вам найти нужную деталь, даже если вы не знаете ее артикул
Дмитрий Иванов
Директор отдела продаж
Мобильный номер:
8 (912) 474-74-74
E-mail:
td.uralval@mail.ru
Вы должны включить JavaScript чтобы использовать эту форму.
Ваше имя
Ваш телефон
Комментарий
Я соглашаюсь с
Политикой конфиденциальности
и даю согласие на обработку персональных данных.
Feed me
Отправить