Запчасти для грузовых автомобилей
8-800-555-32-41
Перезвоните мне
Отправить готовую заявку
0
Корзина
Поиск
КАТАЛОГ ПРОДУКЦИИ
Запчасти УРАЛ
Запчасти КамАЗ
Запчасти АМТ
Запчасти ЧТЗ
Запчасти погрузчиков Dalian
Запчасти ЯМЗ
Двигатели ЯМЗ в сборе
Запчасти Shaanxi Fast Gear
Лебедки
Спецпредложения
О компании
Доставка и оплата
Гарантии и сервис
Контакты
Графические каталоги запчастей
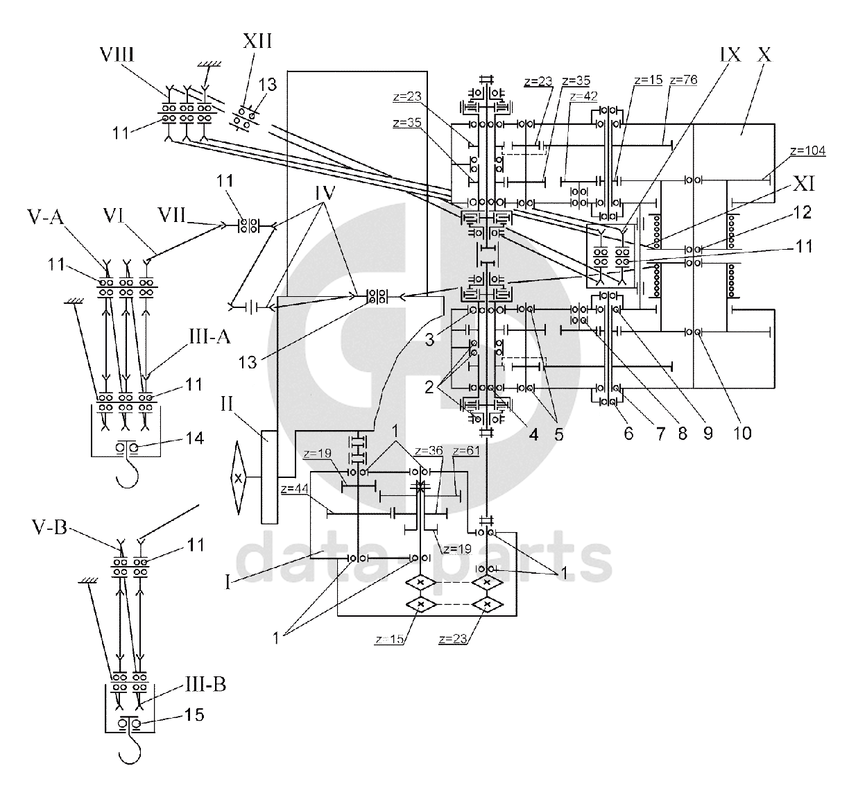
Схема расположения подшипников на грузоподьемном оборудовании Кран ТР-20, ТР-12
Главная
/
Графические каталоги
/
ЧТЗ
/
Кран ТР-20, ТР-12
/
Схема расположения подшипников на грузоподьемном оборудовании
1
1
1
2
3
4
5
6
7
8
9
10
11
11
11
11
11
11
12
13
13
14
15
%
1
310
Подшипник шариковый радиальный однорядный
Кол-во
0
?
Узнать цену
310
Подшипник
Производство:
Россия
Под заказ
цена по запросу
В корзину
2
120А
Подшипник 120 А
Кол-во
0
?
Оставить заявку
3
221
Подшипник 221
Кол-во
0
?
Оставить заявку
4
110
Подшипник 110
Кол-во
0
?
Оставить заявку
5
308А
Подшипник 308 А
Кол-во
0
?
Оставить заявку
6
205
Подшипник 205
Кол-во
0
?
Оставить заявку
7
214
Подшипник 214
Кол-во
0
?
Оставить заявку
8
210
Подшипник 210
Кол-во
0
?
Оставить заявку
9
313
Подшипник 313
Кол-во
0
?
Оставить заявку
10
224
Подшипник 224
Кол-во
0
?
Оставить заявку
11
80218
Подшипник 80218
Кол-во
0
?
Оставить заявку
12
80228АК
Подшипник 80228АК
Кол-во
0
?
Оставить заявку
13
180205
Подшипник 180205
Кол-во
0
?
Узнать цену
180205
Подшипник
Производство:
Россия
Под заказ
цена по запросу
В корзину
14
8318
Подшипник 8318
Кол-во
0
?
Оставить заявку
15
8314
Подшипник 8314
Кол-во
0
?
Оставить заявку
Получить консультацию
У нас большой опыт по подбору запчастей, и мы с радостью поможем вам найти нужную деталь, даже если вы не знаете ее артикул
Дмитрий Иванов
Директор отдела продаж
Мобильный номер:
8 (912) 474-74-74
E-mail:
td.uralval@mail.ru
Вы должны включить JavaScript чтобы использовать эту форму.
Ваше имя
Ваш телефон
Комментарий
Я соглашаюсь с
Политикой конфиденциальности
и даю согласие на обработку персональных данных.
Feed me
Отправить