Запчасти для грузовых автомобилей
8-800-555-32-41
Перезвоните мне
Отправить готовую заявку
0
Корзина
Поиск
КАТАЛОГ ПРОДУКЦИИ
Запчасти УРАЛ
Запчасти КамАЗ
Запчасти АМТ
Запчасти ЧТЗ
Запчасти погрузчиков Dalian
Запчасти ЯМЗ
Двигатели ЯМЗ в сборе
Запчасти Shaanxi Fast Gear
Лебедки
Спецпредложения
О компании
Доставка и оплата
Гарантии и сервис
Контакты
Графические каталоги запчастей
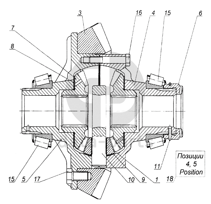
Дифференциал моста заднего КамАЗ-6520
Главная
/
Графические каталоги
/
КамАЗ
/
КамАЗ-6520
/
Дифференциал моста заднего
1
3
4
4
5
5
6
7
8
9
10
11
15
15
16
17
18
%
1
53212-2403054
Сателлит дифференциала
Кол-во
4
?
Оставить заявку
3
6520-2402060-10
Шестерня ведомая заднего моста
Кол-во
1
?
Узнать цену
6520-2402060-10
Шестерня ведомая коническая
Производство:
ПАО КАМАЗ
Под заказ
16 154
p
В корзину
4
6520-2403018
Чашка дифференциала правая
Кол-во
1
?
Оставить заявку
5
6520-2403019
Чашка дифференциала левая
Кол-во
1
?
Оставить заявку
6
55102-2403026
Муфта левой чашки
Кол-во
1
?
Узнать цену
55102-2403026
Муфта КАМАЗ-ЕВРО левой чашки МКД
Производство:
ПАО КАМАЗ
1 в наличии
2 281
p
В корзину
7
53205-2403050
Шестерня полуоси
Кол-во
2
?
Узнать цену
53205-2403050
Шестерня КАМАЗ-ЕВРО полуоси
Производство:
ПАО КАМАЗ
96 в наличии
2 965
p
В корзину
8
5320-2403051
Шайба опорная
Кол-во
2
?
Узнать цену
5320-2403051
Шайба КАМАЗ ЗИЛ опорная шестерни полуоси
Производство:
ПАО КАМАЗ
Под заказ
215
p
В корзину
9
5320-2403058
Шайба опорная
Кол-во
4
?
Узнать цену
5320-2403058
Шайба КАМАЗ сателлита межколесного дифференциала
Производство:
ПАО КАМАЗ
3 в наличии
66
p
В корзину
10
5320-2403060
Крестовина дифференциала заднего моста
Кол-во
1
?
Узнать цену
5320-2403060
Крестовина КАМАЗ дифференциала голая
Производство:
ПАО КАМАЗ
1 в наличии
1 697
p
В корзину
11
55102-2403077
Кольцо стопорное
Кол-во
1
?
Узнать цену
55102-2403077
Кольцо КАМАЗ-ЕВРО стопорное муфты
Производство:
ПАО КАМАЗ
Под заказ
145
p
В корзину
15
Кольцо внутреннее с сепаратором и роликами подшипника 6-7516 А1
Кольцо внутреннее с сепаратором и роликами подшипника 6-7516 А1
Кол-во
0
?
Оставить заявку
16
1/42754/31
Болт самоконтрящийся М12х1,25-6gх75
Кол-во
12
?
Оставить заявку
17
1/42577/31
Болт самоконтрящийся М16х1,5-6gх30
Кол-во
12
?
Оставить заявку
18
6520-2403016
Чашки дифференциала (комплект)
Кол-во
1
?
Узнать цену
6520-2403016
Чашка КАМАЗ-6520 дифференциала комплект
Производство:
ПАО КАМАЗ
1 в наличии
47 265
p
В корзину
Получить консультацию
У нас большой опыт по подбору запчастей, и мы с радостью поможем вам найти нужную деталь, даже если вы не знаете ее артикул
Дмитрий Иванов
Директор отдела продаж
Мобильный номер:
8 (912) 474-74-74
E-mail:
td.uralval@mail.ru
Вы должны включить JavaScript чтобы использовать эту форму.
Ваше имя
Ваш телефон
Комментарий
Я соглашаюсь с
Политикой конфиденциальности
и даю согласие на обработку персональных данных.
Feed me
Отправить