Запчасти для грузовых автомобилей
8-800-555-32-41
Перезвоните мне
Отправить готовую заявку
0
Корзина
Поиск
КАТАЛОГ ПРОДУКЦИИ
Запчасти УРАЛ
Запчасти КамАЗ
Запчасти АМТ
Запчасти ЧТЗ
Запчасти погрузчиков Dalian
Запчасти ЯМЗ
Двигатели ЯМЗ в сборе
Запчасти Shaanxi Fast Gear
Лебедки
Спецпредложения
О компании
Доставка и оплата
Гарантии и сервис
Контакты
Графические каталоги запчастей
Установка радиатора и уплотнителей радиатора КамАЗ-6520
Главная
/
Графические каталоги
/
КамАЗ
/
КамАЗ-6520
/
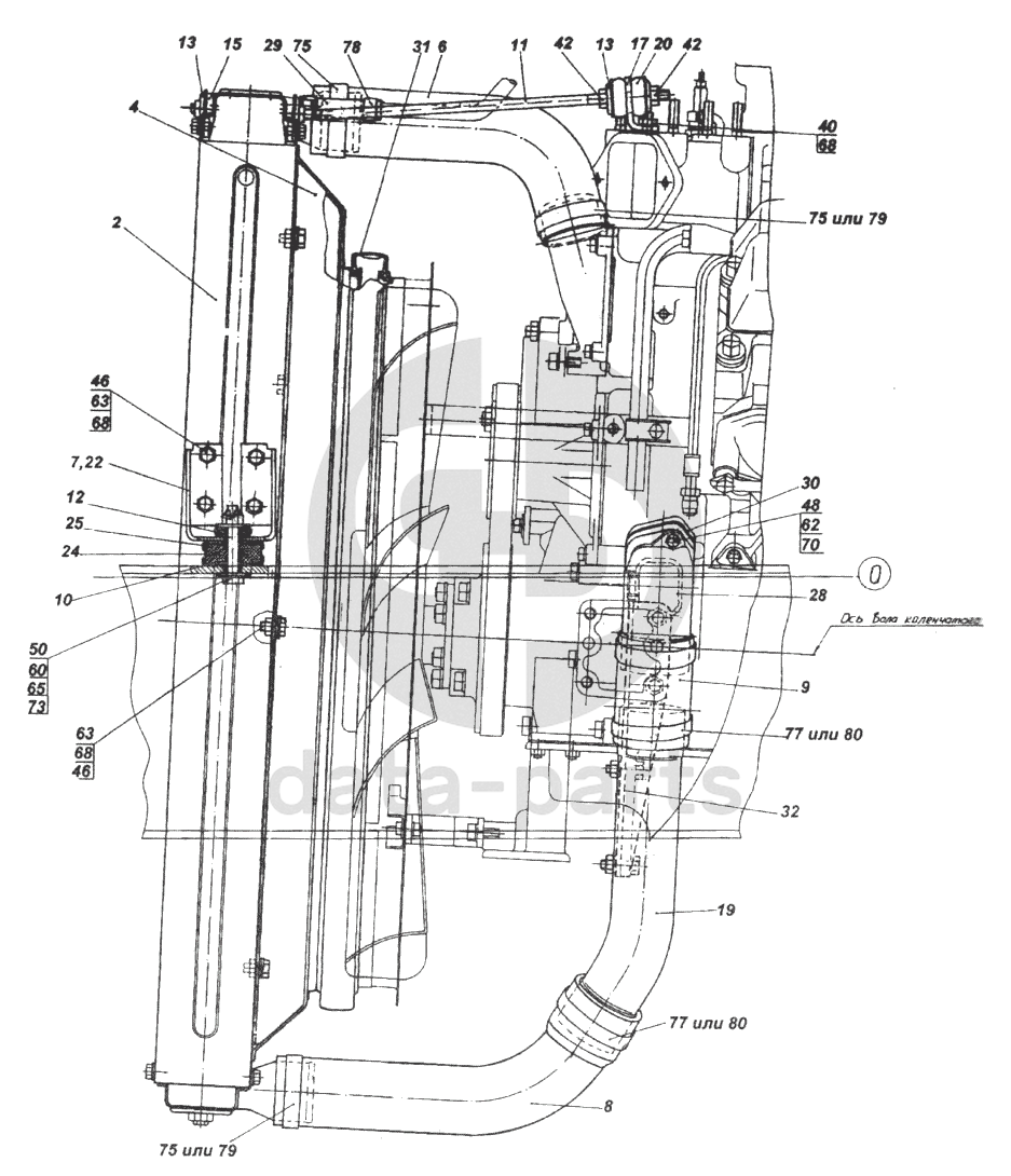
Установка радиатора и уплотнителей радиатора
2
4
6
7
8
9
10
11
12
13
13
15
17
19
20
22
24
25
28
29
30
31
32
40
42
42
46
46
48
50
60
62
63
63
65
68
68
68
70
73
75
75
75
78
77
77
79
79
80
80
%
2
6520-1301010-01
Радиатор в сборе
Кол-во
1
?
Оставить заявку
4
6520-1309012
Кожух вентилятора с накладкой
Кол-во
1
?
Оставить заявку
6
6520-1303010
Рукав
Кол-во
1
?
Оставить заявку
7
6520-1302077-10
Кронштейн подвески радиатора
Кол-во
1
?
Узнать цену
6520-1302077-10
Кронштейн КАМАЗ-ЕВРО подвески радиатора
Производство:
ПАО КАМАЗ
Под заказ
1 364
p
В корзину
8
6520-1303026
Рукав
Кол-во
1
?
Оставить заявку
9
5320-1303027
Рукав
Кол-во
1
?
Оставить заявку
10
6520-1302031
Втулка распорная
Кол-во
2
?
Узнать цену
6520-1302031
втулка распорная
Производство:
ПАО КАМАЗ
Под заказ
90
p
В корзину
11
6520-1302035
Тяга крепления радиатора
Кол-во
1
?
Узнать цену
6520-1302035
Тяга КАМАЗ крепления радиатора в сборе
Производство:
ПАО КАМАЗ
Под заказ
242
p
В корзину
12
5320-1302037
Подушка крепления радиатора
Кол-во
2
?
Оставить заявку
13
5320-1302038
Чашка буфера тяги
Кол-во
4
?
Узнать цену
5320-1302038
Чашка КАМАЗ буфера тяги
Производство:
ПАО КАМАЗ
Под заказ
25
p
В корзину
15
6520-1302039
Буфер
Кол-во
2
?
Оставить заявку
17
6520-1302048
Кронштейн
Кол-во
1
?
Узнать цену
6520-1302048
кронштейн
Производство:
ПАО КАМАЗ
Под заказ
271
p
В корзину
19
6520-1303028
Колено подводящего патрубка водяного трубопровода
Кол-во
1
?
Узнать цену
6520-1303028
Колено КАМАЗ-6520 системы охлаждения
Производство:
ПАО КАМАЗ
Под заказ
6 348
p
В корзину
20
5320-1302040
Буфер тяги крепления радиатора
Кол-во
2
?
Оставить заявку
22
6520-1302078-10
Кронштейн подвески радиатора
Кол-во
1
?
Узнать цену
6520-1302078-10
кронштейн подвески радиатора
Производство:
ПАО КАМАЗ
Под заказ
1 364
p
В корзину
24
5320-1302060
Подушка подвески радиатора
Кол-во
2
?
Оставить заявку
25
5320-1302062
Чашка подвески радиатора
Кол-во
4
?
Узнать цену
5320-1302062
Чашка КАМАЗ подвески радиатора
Производство:
ПАО КАМАЗ
Под заказ
141
p
В корзину
28
6520-1303058
Патрубок подводящий водяного трубопровода
Кол-во
1
?
Узнать цену
6520-1303058
Патрубок КАМАЗ-6520 отводящий системы охлаждения
Производство:
ПАО КАМАЗ
Под заказ
3 503
p
В корзину
29
5320-1311063-01
Рукав от радиатора к бачку
Кол-во
1
?
Оставить заявку
30
5320-1303063
Прокладка подводящего патрубка
Кол-во
1
?
Оставить заявку
31
6520-1309015
Уплотнитель
Кол-во
1
?
Оставить заявку
32
6520-1303076
Кронштейн крепления колена подводящего трубопровода
Кол-во
1
?
Узнать цену
6520-1303076
кронштейн крепления колена
Производство:
ПАО КАМАЗ
Под заказ
2 261
p
В корзину
40
1/61008/11
Гайка М8х1,25-6Н
Кол-во
2
?
Оставить заявку
42
1/21647/11
Гайка М10х1,25-6Н
Кол-во
6
?
Оставить заявку
46
1/60432/21
Болт М8-6gх16
Кол-во
18
?
Оставить заявку
48
1/13069/21
Болт М10х1,25-6gх30
Кол-во
4
?
Оставить заявку
50
853032
Болт М12х1,25-6gх65
Кол-во
2
?
Оставить заявку
60
252045
Шайба плоская 12х34 ОСТ 37.001.144-96
Кол-во
4
?
Оставить заявку
62
1/26386/01
Шайба плоская 10,6х18х2
Кол-во
2
?
Оставить заявку
63
1/05196/01
Шайба плоская 8х17
Кол-во
18
?
Узнать цену
1/05196/01
Шайба 8*17 1/05196
Производство:
АО ЯЗДА
Под заказ
18
p
В корзину
65
250977
Гайка М12х1,25-6Н ОСТ 37.001.108-93
Кол-во
2
?
Оставить заявку
68
1/05166/77
Шайба 8 пружинная
Кол-во
24
?
Узнать цену
1/05166/77
Шайба
Производство:
АО ЯЗДА
Под заказ
38
p
В корзину
70
1/05168Я7
Шайба пружинная 10
Кол-во
2
?
Оставить заявку
73
1/07336/01
Шплинт 3х25
Кол-во
2
?
Оставить заявку
75
ТОRDО60-80/12-С7W1
Хомут с червячной резьбой DIN3017
Кол-во
3
?
Оставить заявку
77
ТОRDО70-90/12-С7W1
Хомут с червячной резьбой DIN3017
Кол-во
3
?
Оставить заявку
78
ТОRDО16-27/12-С7W1
Хомут с червячной резьбой DIN3017
Кол-во
2
?
Оставить заявку
79
СБИТ.305419.004-26
Хомут стяжной (60-80)х13 СБИТ.30541 9.003 ТУ
Кол-во
3
?
Оставить заявку
80
СБИТ.305419.004-27
Хомут стяжной (70-90)х13 СБИТ.30541 9.003 ТУ
Кол-во
3
?
Оставить заявку
Получить консультацию
У нас большой опыт по подбору запчастей, и мы с радостью поможем вам найти нужную деталь, даже если вы не знаете ее артикул
Дмитрий Иванов
Директор отдела продаж
Мобильный номер:
8 (912) 474-74-74
E-mail:
td.uralval@mail.ru
Вы должны включить JavaScript чтобы использовать эту форму.
Ваше имя
Ваш телефон
Комментарий
Я соглашаюсь с
Политикой конфиденциальности
и даю согласие на обработку персональных данных.
Feed me
Отправить