Запчасти для грузовых автомобилей
8-800-555-32-41
Перезвоните мне
Отправить готовую заявку
0
Корзина
Поиск
КАТАЛОГ ПРОДУКЦИИ
Запчасти УРАЛ
Запчасти КамАЗ
Запчасти АМТ
Запчасти ЧТЗ
Запчасти погрузчиков Dalian
Запчасти ЯМЗ
Двигатели ЯМЗ в сборе
Запчасти Shaanxi Fast Gear
Лебедки
Спецпредложения
О компании
Доставка и оплата
Гарантии и сервис
Контакты
Графические каталоги запчастей
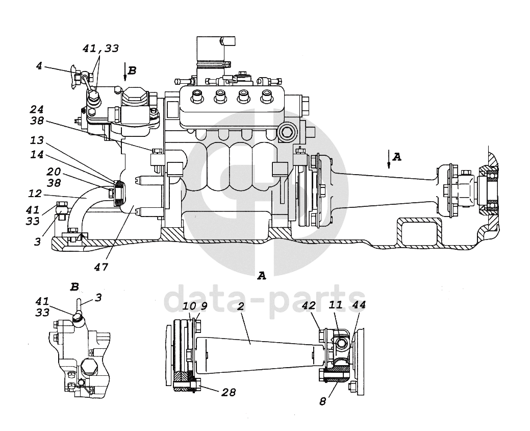
Установка и привод ТНВД КамАЗ-65116
Главная
/
Графические каталоги
/
КамАЗ
/
КамАЗ-65116
/
Установка и привод ТНВД
2
3
3
4
8
9
10
11
12
13
14
20
24
28
33
33
33
38
38
41
41
41
42
44
47
%
2
7406.1111050
Вал привода ТНВД в сборе
Кол-во
1
?
Узнать цену
7406.1111050
Вал КАМАЗ-ЕВРО-2 привода ТНВД с пластинами в сборе
Производство:
ПАО КАМАЗ
Под заказ
4 316
p
В корзину
3
740.30-1111568
Трубка подвода масла
Кол-во
1
?
Узнать цену
740.30-1111568
Трубка КАМАЗ-ЕВРО-2 подвода масла к ТНВД
Производство:
ПАО КАМАЗ
31 в наличии
884
p
В корзину
4
7406.1111573
Трубка подвода воздуха к корректору
Кол-во
1
?
Узнать цену
7406.1111573
Трубка КАМАЗ-ЕВРО-2 3 подвода воздуха к корректору
Производство:
ПАО КАМАЗ
2 в наличии
1 126
p
В корзину
8
740.51-1111054-01
Полумуфта ведущая
Кол-во
1
?
Узнать цену
740.51-1111054-01
Полумуфта КАМАЗ-ЕВРО ведущая ТНВД (под вал 26мм) (замена 633660)
Производство:
ПАО КАМАЗ
Под заказ
цена по запросу
В корзину
9
7406.1111066
Втулка центрирующая
Кол-во
4
?
Оставить заявку
10
7482.1111068
Фланец центрирующий
Кол-во
1
?
Узнать цену
7482.1111068
Фланец КАМАЗ-ЕВРО центрирующий вала привода ТНВД
Производство:
ПАО КАМАЗ
20 в наличии
987
p
В корзину
11
740.51-1111084
Болт полумуфты ведущей
Кол-во
1
?
Узнать цену
740.51-1111084
Болт КАМАЗ полумуфты ведущей ТНВД
Производство:
ПАО КАМАЗ
54 в наличии
668
p
В корзину
12
740.1111570
Трубка отвода масла
Кол-во
1
?
Узнать цену
740.1111570
Трубка КАМАЗ отвода масла
Производство:
ПАО КАМАЗ
8 в наличии
246
p
В корзину
13
740.1111572
Фланец трубы отвода масла
Кол-во
2
?
Узнать цену
740.1111572
Фланец КАМАЗ трубки отвода масла ТНВД
Производство:
ПАО КАМАЗ
Под заказ
189
p
В корзину
14
740.1111578
Кольцо уплотнительное крышки корпуса включателя
Кол-во
2
?
Оставить заявку
20
1/60432/21
Болт М8-6gх16
Кол-во
4
?
Оставить заявку
24
1/60448/21
Болт М8-6gх80
Кол-во
4
?
Оставить заявку
28
1/59709/31
Болт М10х1,25-6gх35
Кол-во
2
?
Оставить заявку
33
1/02844/60
Прокладка уплотнительная 10х16х1,5
Кол-во
8
?
Оставить заявку
38
1/05166/73
Шайба 8 пружинная
Кол-во
8
?
Оставить заявку
41
870007
Болт М10х1,25-6gх23
Кол-во
4
?
Узнать цену
870007
Болт-штуцер М10х1.25х23 КАМАЗ крепления дренажной трубки к форсунке
Производство:
ПАО КАМАЗ
Под заказ
52
p
В корзину
42
870012
Болт М10х1,25-6gх30
Кол-во
2
?
Оставить заявку
44
870813
Шпонка сегментная 6х9х22
Кол-во
1
?
Узнать цену
870813
Шпонка КАМАЗ коленвала вилки сцепления 6х9х22
Производство:
ПАО КАМАЗ
54 в наличии
71
p
В корзину
47
3371.1111005-20
Насос топливный высокого давления
Кол-во
1
?
Оставить заявку
Получить консультацию
У нас большой опыт по подбору запчастей, и мы с радостью поможем вам найти нужную деталь, даже если вы не знаете ее артикул
Дмитрий Иванов
Директор отдела продаж
Мобильный номер:
8 (912) 474-74-74
E-mail:
td.uralval@mail.ru
Вы должны включить JavaScript чтобы использовать эту форму.
Ваше имя
Ваш телефон
Комментарий
Я соглашаюсь с
Политикой конфиденциальности
и даю согласие на обработку персональных данных.
Feed me
Отправить