Запчасти для грузовых автомобилей
8-800-555-32-41
Перезвоните мне
Отправить готовую заявку
0
Корзина
Поиск
КАТАЛОГ ПРОДУКЦИИ
Запчасти УРАЛ
Запчасти КамАЗ
Запчасти АМТ
Запчасти ЧТЗ
Запчасти погрузчиков Dalian
Запчасти ЯМЗ
Двигатели ЯМЗ в сборе
Запчасти Shaanxi Fast Gear
Лебедки
Спецпредложения
О компании
Доставка и оплата
Гарантии и сервис
Контакты
Графические каталоги запчастей
6350-1000260 Агрегат силовой 740.50-360, укомплектованный для установки на автомобиль КамАЗ-6450 8х8
Главная
/
Графические каталоги
/
КамАЗ
/
КамАЗ-6450 8х8
/
6350-1000260 Агрегат силовой 740.50-360, укомплектованный для установки на автомобиль
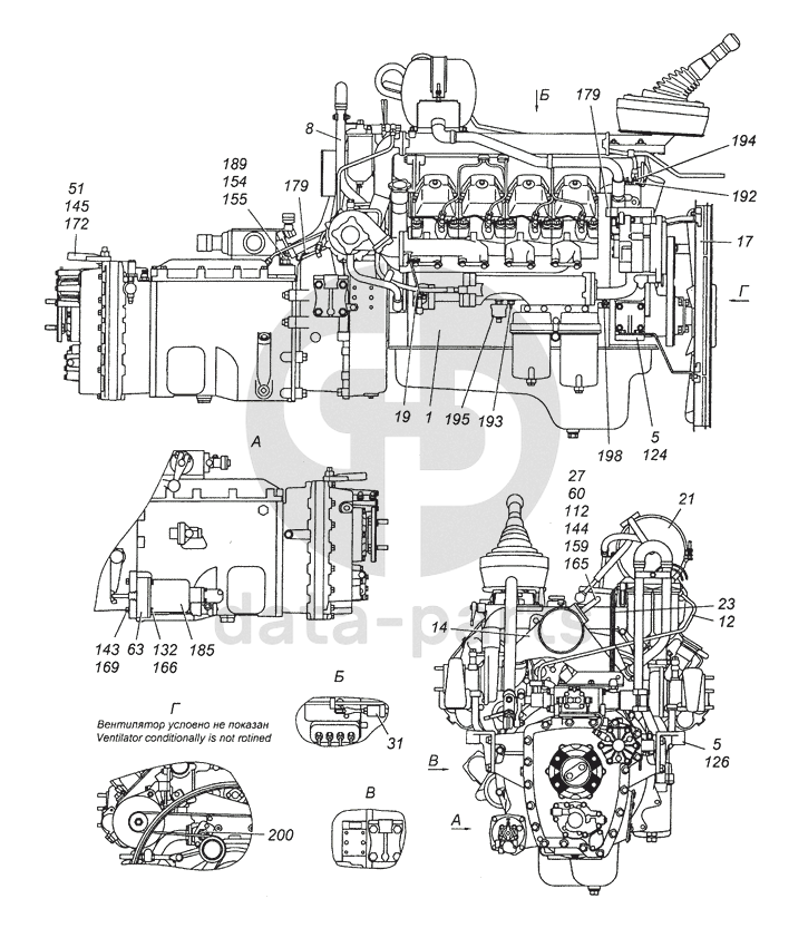
1
5
5
8
12
14
17
19
21
23
27
31
51
60
63
112
124
126
132
143
144
145
154
155
159
165
166
169
172
179
179
185
189
192
193
194
195
198
200
%
1
740.50-1000312-02
Агрегат силовой 740.50-360 в сборе
Кол-во
1
?
Оставить заявку
5
54115-1001006-01
Кронштейн крепления силового агрегата передний
Кол-во
2
?
Узнать цену
54115-1001006-01
кронштейн крепления передний
Производство:
ПАО КАМАЗ
Под заказ
3 854
p
В корзину
8
5Э6350-1014001
Установка трубки системы вентиляции картера
Кол-во
1
?
Оставить заявку
12
65115-1104002
Установка топливопроводов
Кол-во
1
?
Оставить заявку
14
65116-1109048
Установка тройника
Кол-во
1
?
Оставить заявку
17
740.50-1309007
Установка обечайки вентилятора
Кол-во
1
?
Оставить заявку
19
740.13-1305010
Установка кранов сливных системы охлаждения с приводами управления
Кол-во
1
?
Оставить заявку
21
6520-1311005
Установка расширительного бачка
Кол-во
1
?
Оставить заявку
23
161.1600300
Установка вентиляционных трубок коробки передач
Кол-во
1
?
Оставить заявку
27
740.3509260
Патрубок
Кол-во
1
?
Узнать цену
740.3509260
патрубок
Производство:
ПАО КАМАЗ
Под заказ
874
p
В корзину
31
5320-3570010-10
Установка цилиндра выключения подачи топлива
Кол-во
1
?
Оставить заявку
50
54115-1001125
Кронштейн крепления задней опоры
Кол-во
2
?
Узнать цену
54115-1001125
Кронштейн КАМАЗ-ЕВРО крепления двигателя (под КПП-154)
Производство:
ПАО КАМАЗ
Под заказ
4 174
p
В корзину
51
65115-1001133
Кронштейн поддерживающей опоры
Кол-во
1
?
Оставить заявку
60
7405.1118335
Прокладка
Кол-во
1
?
Оставить заявку
63
19.1609291-10
Проставка
Кол-во
1
?
Оставить заявку
112
5511-8609116
Рукав
Кол-во
1
?
Оставить заявку
124
251647
Гайка М12х1,25-6Н ОСТ 37.001.197-97
Кол-во
8
?
Оставить заявку
126
251649
Гайка М16х1,5-6Н ОСТ 37.001.197-97
Кол-во
8
?
Оставить заявку
132
1/60434/21
Болт М8-6gх20
Кол-во
4
?
Оставить заявку
143
1/55407/21
Болт М12х1,25-6gх45
Кол-во
2
?
Оставить заявку
144
1/58962/11
Гайка ЕМ6-6Н
Кол-во
2
?
Узнать цену
1/58962/11
Гайка М6Х1 Камаз
Производство:
АО ЯЗДА
Под заказ
13
p
В корзину
145
1/21641/11
Гайка М16х1,5-6Н
Кол-во
2
?
Оставить заявку
154
1/02785/50
Прокладка регулировочная 16х22х0,5
Кол-во
2
?
Оставить заявку
155
1/02813/80
Прокладка уплотнительная 16х22х1
Кол-во
1
?
Оставить заявку
159
1/01693/90
Хомут 32
Кол-во
2
?
Оставить заявку
165
1/05164/77
Шайба 6 пружинная
Кол-во
2
?
Узнать цену
1/05164/77
Шайба
Производство:
АО ЯЗДА
Под заказ
53
p
В корзину
166
1/05166/77
Шайба 8 пружинная
Кол-во
4
?
Узнать цену
1/05166/77
Шайба
Производство:
АО ЯЗДА
Под заказ
38
p
В корзину
169
1/05170/77
Шайба 12 пружинная
Кол-во
2
?
Оставить заявку
172
1/05172/77
Шайба 16 пружинная
Кол-во
2
?
Оставить заявку
179
853936
Штуцер проходной
Кол-во
2
?
Узнать цену
853936
Скоба КАМАЗ крепления проводов
Производство:
ПАО КАМАЗ
Под заказ
25
p
В корзину
185
45104161200190
Усилитель пневмогидравлический в сборе
Кол-во
1
?
Оставить заявку
189
4573734914
Выключатель света заднего хода ВК 403 Б
Кол-во
1
?
Оставить заявку
192
4573825081
Датчик ТМ 100А-0 ТУ 37.003.568-77
Кол-во
1
?
Оставить заявку
193
4573825169
Датчик ТМ 111-06 ТУ 37.003.569-90
Кол-во
1
?
Оставить заявку
194
4573825172
Датчик ТМ 111-08 ТУ 37.003.569-90
Кол-во
1
?
Оставить заявку
195
4573826087
Датчик давления ММ370
Кол-во
1
?
Оставить заявку
198
4573826187
Датчик ТМ 111 Д-3810 600 ТУ 37.003.546-76
Кол-во
1
?
Оставить заявку
200
4573825037
Датчик включения вентилятора ТМ108 ТУ 37.003.648-2001
Кол-во
1
?
Оставить заявку
Получить консультацию
У нас большой опыт по подбору запчастей, и мы с радостью поможем вам найти нужную деталь, даже если вы не знаете ее артикул
Дмитрий Иванов
Директор отдела продаж
Мобильный номер:
8 (912) 474-74-74
E-mail:
td.uralval@mail.ru
Вы должны включить JavaScript чтобы использовать эту форму.
Ваше имя
Ваш телефон
Комментарий
Я соглашаюсь с
Политикой конфиденциальности
и даю согласие на обработку персональных данных.
Feed me
Отправить