Запчасти для грузовых автомобилей
8-800-555-32-41
Перезвоните мне
Отправить готовую заявку
0
Корзина
Поиск
КАТАЛОГ ПРОДУКЦИИ
Запчасти УРАЛ
Запчасти КамАЗ
Запчасти АМТ
Запчасти ЧТЗ
Запчасти погрузчиков Dalian
Запчасти ЯМЗ
Двигатели ЯМЗ в сборе
Запчасти Shaanxi Fast Gear
Лебедки
Спецпредложения
О компании
Доставка и оплата
Гарантии и сервис
Контакты
Графические каталоги запчастей
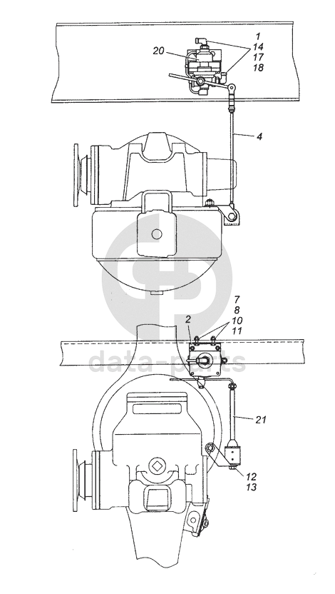
43501-3500033 Установка регулятора тормозных сил КамАЗ-63501 8х8
Главная
/
Графические каталоги
/
КамАЗ
/
КамАЗ-63501 8х8
/
43501-3500033 Установка регулятора тормозных сил
1
2
4
7
8
10
11
12
13
14
17
18
20
21
%
1
740.1003439
Кольцо уплотнительное
Кол-во
2
?
Оставить заявку
2
5425-3533019
Кронштейн
Кол-во
1
?
Оставить заявку
4
4326-3533133
Тяга соединительная
Кол-во
1
?
Оставить заявку
7
1/60436/21
Болт М8-6gх25
Кол-во
2
?
Оставить заявку
8
1/61008/11
Гайка М8х1,25-6Н
Кол-во
2
?
Оставить заявку
10
1/05166/77
Шайба 8 пружинная
Кол-во
2
?
Узнать цену
1/05166/77
Шайба
Производство:
АО ЯЗДА
Под заказ
38
p
В корзину
11
1/05196/01
Шайба плоская 8х17
Кол-во
2
?
Узнать цену
1/05196/01
Шайба 8*17 1/05196
Производство:
АО ЯЗДА
Под заказ
18
p
В корзину
12
201538
Болт М12-6gх25
Кол-во
1
?
Оставить заявку
13
1/05170/77
Шайба 12 пружинная
Кол-во
1
?
Оставить заявку
14
861021
Гайка М22х1,5-6Н
Кол-во
2
?
Узнать цену
861021
Гайка М22х1.5 клапана контрольного крана тормозного
Производство:
ПАО КАМАЗ
Под заказ
128
p
В корзину
17
861005
Угольник ввертный
Кол-во
2
?
Узнать цену
861005
Угольник КАМАЗ М14х22
Производство:
ПАО КАМАЗ
Под заказ
705
p
В корзину
18
861024
Шайба
Кол-во
2
?
Узнать цену
861024
шайба
Производство:
ПАО КАМАЗ
200 в наличии
15
p
В корзину
20
8007-3533010
Регулятор тормозных сил в сборе
Кол-во
1
?
Оставить заявку
21
100-3533110
Упругий элемент в сборе
Кол-во
1
?
Оставить заявку
Получить консультацию
У нас большой опыт по подбору запчастей, и мы с радостью поможем вам найти нужную деталь, даже если вы не знаете ее артикул
Дмитрий Иванов
Директор отдела продаж
Мобильный номер:
8 (912) 474-74-74
E-mail:
td.uralval@mail.ru
Вы должны включить JavaScript чтобы использовать эту форму.
Ваше имя
Ваш телефон
Комментарий
Я соглашаюсь с
Политикой конфиденциальности
и даю согласие на обработку персональных данных.
Feed me
Отправить