Запчасти для грузовых автомобилей
8-800-555-32-41
Перезвоните мне
Отправить готовую заявку
0
Корзина
Поиск
КАТАЛОГ ПРОДУКЦИИ
Запчасти УРАЛ
Запчасти КамАЗ
Запчасти АМТ
Запчасти ЧТЗ
Запчасти погрузчиков Dalian
Запчасти ЯМЗ
Двигатели ЯМЗ в сборе
Запчасти Shaanxi Fast Gear
Лебедки
Спецпредложения
О компании
Доставка и оплата
Гарантии и сервис
Контакты
Графические каталоги запчастей
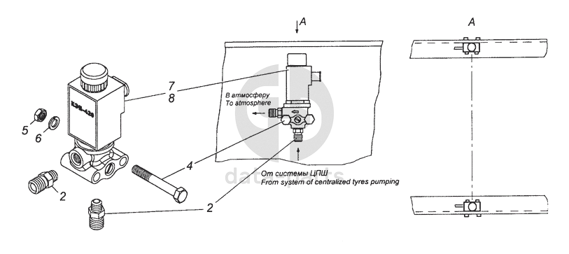
6350-3125015 Установка электромагнитных клапанов КамАЗ-63501 8х8
Главная
/
Графические каталоги
/
КамАЗ
/
КамАЗ-63501 8х8
/
6350-3125015 Установка электромагнитных клапанов
2
2
4
5
6
7
8
%
2
853973
Штуцер ввертной задних колес
Кол-во
4
?
Оставить заявку
4
1/60442/21
Болт М8-6gх50
Кол-во
4
?
Оставить заявку
5
1/61023/11
Гайка М8-6Н низкая
Кол-во
4
?
Оставить заявку
6
1/05166/73
Шайба 8 пружинная
Кол-во
4
?
Оставить заявку
7
4151579201
Клапан электромагнитный КЭБ-420.ТУ 554-0036-93
Кол-во
2
?
Оставить заявку
8
4573748642
Клапан электромагнитный КЭМ-10
Кол-во
2
?
Оставить заявку
Получить консультацию
У нас большой опыт по подбору запчастей, и мы с радостью поможем вам найти нужную деталь, даже если вы не знаете ее артикул
Дмитрий Иванов
Директор отдела продаж
Мобильный номер:
8 (912) 474-74-74
E-mail:
td.uralval@mail.ru
Вы должны включить JavaScript чтобы использовать эту форму.
Ваше имя
Ваш телефон
Комментарий
Я соглашаюсь с
Политикой конфиденциальности
и даю согласие на обработку персональных данных.
Feed me
Отправить