Запчасти для грузовых автомобилей
8-800-555-32-41
Перезвоните мне
Отправить готовую заявку
0
Корзина
Поиск
КАТАЛОГ ПРОДУКЦИИ
Запчасти УРАЛ
Запчасти КамАЗ
Запчасти АМТ
Запчасти ЧТЗ
Запчасти погрузчиков Dalian
Запчасти ЯМЗ
Двигатели ЯМЗ в сборе
Запчасти Shaanxi Fast Gear
Лебедки
Спецпредложения
О компании
Доставка и оплата
Гарантии и сервис
Контакты
Графические каталоги запчастей
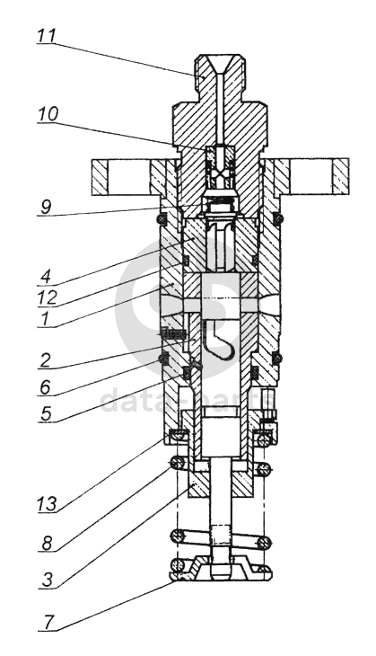
Секция топливного насоса КамАЗ-5360
Главная
/
Графические каталоги
/
КамАЗ
/
КамАЗ-5360
/
Секция топливного насоса
1
2
3
4
5
6
7
8
9
10
11
12
13
%
1
337.1111041
Корпус секции со штифтом
Кол-во
1
?
Узнать цену
337.1111041
Корпус секции ТНВД со Штифтом Камаз
Производство:
АО ЯЗДА
6 в наличии
2 273
p
В корзину
2
337.1111150-20
Пара плунжерная
Кол-во
1
?
Оставить заявку
3
332.1111172
Втулка поворотная с осью
Кол-во
1
?
Узнать цену
332.1111172
Втулка
Производство:
АО ЯЗДА
Под заказ
288
p
В корзину
4
323.1111220-10
Клапан нагнетательный
Кол-во
1
?
Узнать цену
323.1111220-10
Клапан ЯМЗ нагнетательный ТНВД -323 363 773
Производство:
АО ЯЗДА
20 в наличии
686
p
В корзину
5
33.1111054
Кольцо уплотнительное
Кол-во
1
?
Оставить заявку
6
33.1111069
Кольцо уплотнительное
Кол-во
2
?
Оставить заявку
7
332.1111135
Тарелка пружины толкателя
Кол-во
1
?
Узнать цену
332.1111135
Тарелка
Производство:
АО ЯЗДА
Под заказ
161
p
В корзину
8
337.1111138-03
Пружина толкателя
Кол-во
1
?
Узнать цену
337.1111138-03
Пружина КАМАЗ ЯМЗ ТНВД толкателя плунжерной пары
Производство:
АО ЯЗДА
11 в наличии
214
p
В корзину
9
323.1111228
Пружина
Кол-во
1
?
Узнать цену
323.1111228
Пружина клапана нагнетательного h=17 мм
Производство:
АО ЯЗДА
2 в наличии
74
p
В корзину
10
323.1111234
Упор
Кол-во
1
?
Узнать цену
323.1111234
Упор
Производство:
АО ЯЗДА
20 в наличии
110
p
В корзину
11
323.1111256-10
Штуцер
Кол-во
1
?
Узнать цену
323.1111256-10
Штуцер секции ТНВД-337-20 УРАЛ, Автобус дв. ЯМЗ-236НЕ, НЕ2-3
Производство:
АО ЯЗДА
180 в наличии
296
p
В корзину
12
33.1111259
Кольцо уплотнительное
Кол-во
1
?
Оставить заявку
13
870622-П
Шайба 19
Кол-во
1
?
Узнать цену
870622-П
Шайба
Производство:
АО ЯЗДА
Под заказ
37
p
В корзину
Получить консультацию
У нас большой опыт по подбору запчастей, и мы с радостью поможем вам найти нужную деталь, даже если вы не знаете ее артикул
Дмитрий Иванов
Директор отдела продаж
Мобильный номер:
8 (912) 474-74-74
E-mail:
td.uralval@mail.ru
Вы должны включить JavaScript чтобы использовать эту форму.
Ваше имя
Ваш телефон
Комментарий
Я соглашаюсь с
Политикой конфиденциальности
и даю согласие на обработку персональных данных.
Feed me
Отправить