Запчасти для грузовых автомобилей
8-800-555-32-41
Перезвоните мне
Отправить готовую заявку
0
Корзина
Поиск
КАТАЛОГ ПРОДУКЦИИ
Запчасти УРАЛ
Запчасти КамАЗ
Запчасти АМТ
Запчасти ЧТЗ
Запчасти погрузчиков Dalian
Запчасти ЯМЗ
Двигатели ЯМЗ в сборе
Запчасти Shaanxi Fast Gear
Лебедки
Спецпредложения
О компании
Доставка и оплата
Гарантии и сервис
Контакты
Графические каталоги запчастей
Привод агрегатов КамАЗ-5360
Главная
/
Графические каталоги
/
КамАЗ
/
КамАЗ-5360
/
Привод агрегатов
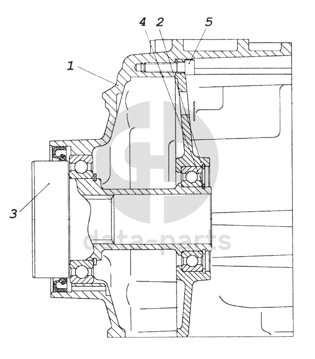
1
2
3
4
5
%
1
7406.1002260
Крышка блока цилиндров передняя
Кол-во
1
?
Узнать цену
7406.1002260
Крышка КАМАЗ блока цилиндров передняя
Производство:
ПАО КАМАЗ
Под заказ
14 553
p
В корзину
2
7406.1005250
Корпус подшипника
Кол-во
1
?
Узнать цену
7406.1005250
корпус подшипника
Производство:
ПАО КАМАЗ
Под заказ
9 870
p
В корзину
3
7406.1005535
Вал отбора мощности
Кол-во
1
?
Узнать цену
7406.1005535
Вал КАМАЗ-ЕВРО-2 отбора мощности в сборе (12мм)
Производство:
ПАО КАМАЗ
Под заказ
6 636
p
В корзину
4
7406.1005537
Кольцо стопорное
Кол-во
1
?
Оставить заявку
5
870353-20
Винт М8-6gх25
Кол-во
7
?
Оставить заявку
Получить консультацию
У нас большой опыт по подбору запчастей, и мы с радостью поможем вам найти нужную деталь, даже если вы не знаете ее артикул
Дмитрий Иванов
Директор отдела продаж
Мобильный номер:
8 (912) 474-74-74
E-mail:
td.uralval@mail.ru
Вы должны включить JavaScript чтобы использовать эту форму.
Ваше имя
Ваш телефон
Комментарий
Я соглашаюсь с
Политикой конфиденциальности
и даю согласие на обработку персональных данных.
Feed me
Отправить