Запчасти для грузовых автомобилей
8-800-555-32-41
Перезвоните мне
Отправить готовую заявку
0
Корзина
Поиск
КАТАЛОГ ПРОДУКЦИИ
Запчасти УРАЛ
Запчасти КамАЗ
Запчасти АМТ
Запчасти ЧТЗ
Запчасти погрузчиков Dalian
Запчасти ЯМЗ
Двигатели ЯМЗ в сборе
Запчасти Shaanxi Fast Gear
Лебедки
Спецпредложения
О компании
Доставка и оплата
Гарантии и сервис
Контакты
Графические каталоги запчастей
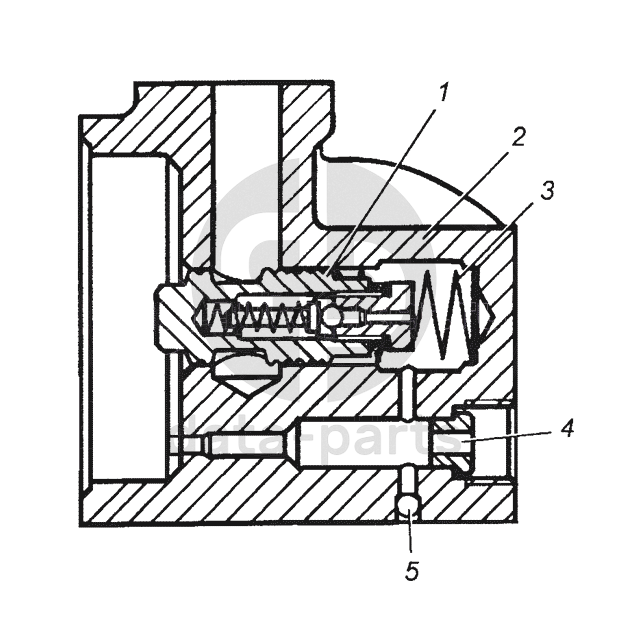
4310-3407212 Крышка насоса рулевого усилителя КамАЗ-53504 (6х6)
Главная
/
Графические каталоги
/
КамАЗ
/
КамАЗ-53504 (6х6)
/
4310-3407212 Крышка насоса рулевого усилителя
%
1
53212-3407270
Клапан перепускной в сборе
Кол-во
1
?
Оставить заявку
2
4310-3407213
Крышка насоса
Кол-во
1
?
Оставить заявку
3
5320-3407281
Пружина перепускного клапана
Кол-во
1
?
Оставить заявку
4
864843
Седло уплотнительное
Кол-во
1
?
Оставить заявку
5
3.969-40 ГОСТ 3722-81
Шарик
Кол-во
1
?
Оставить заявку
Получить консультацию
У нас большой опыт по подбору запчастей, и мы с радостью поможем вам найти нужную деталь, даже если вы не знаете ее артикул
Дмитрий Иванов
Директор отдела продаж
Мобильный номер:
8 (912) 474-74-74
E-mail:
td.uralval@mail.ru
Вы должны включить JavaScript чтобы использовать эту форму.
Ваше имя
Ваш телефон
Комментарий
Я соглашаюсь с
Политикой конфиденциальности
и даю согласие на обработку персональных данных.
Feed me
Отправить