Запчасти для грузовых автомобилей
8-800-555-32-41
Перезвоните мне
Отправить готовую заявку
0
Корзина
Поиск
КАТАЛОГ ПРОДУКЦИИ
Запчасти УРАЛ
Запчасти КамАЗ
Запчасти АМТ
Запчасти ЧТЗ
Запчасти погрузчиков Dalian
Запчасти ЯМЗ
Двигатели ЯМЗ в сборе
Запчасти Shaanxi Fast Gear
Лебедки
Спецпредложения
О компании
Доставка и оплата
Гарантии и сервис
Контакты
Графические каталоги запчастей
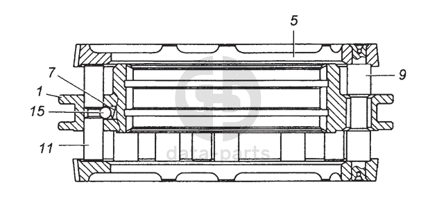
154.1701150 Шестерня второй и третьей передачи в сборе КамАЗ-53504 (6х6)
Главная
/
Графические каталоги
/
КамАЗ
/
КамАЗ-53504 (6х6)
/
154.1701150 Шестерня второй и третьей передачи в сборе
1
5
7
9
11
15
%
1
14.1701155
Каретка синхронизатора 2-й и 3-й передач
Кол-во
1
?
Оставить заявку
5
154.1701164
Кольцо фрикционное
Кол-во
2
?
Оставить заявку
7
14.1701170
Пружина фиксатора синхронизатора
Кол-во
4
?
Оставить заявку
9
14.1701172
Палец блокирующий синхронизатора второй и третьей передач
Кол-во
8
?
Узнать цену
14.1701172
палец
Производство:
ПАО КАМАЗ
Под заказ
144
p
В корзину
11
14.1701174
Палец фиксатора синхронизатора второй и третьей передач
Кол-во
4
?
Оставить заявку
15
Шарик 7.938-100
Шарик 7.938-100
Кол-во
4
?
Оставить заявку
Получить консультацию
У нас большой опыт по подбору запчастей, и мы с радостью поможем вам найти нужную деталь, даже если вы не знаете ее артикул
Дмитрий Иванов
Директор отдела продаж
Мобильный номер:
8 (912) 474-74-74
E-mail:
td.uralval@mail.ru
Вы должны включить JavaScript чтобы использовать эту форму.
Ваше имя
Ваш телефон
Комментарий
Я соглашаюсь с
Политикой конфиденциальности
и даю согласие на обработку персональных данных.
Feed me
Отправить