Запчасти для грузовых автомобилей
8-800-555-32-41
Перезвоните мне
Отправить готовую заявку
0
Корзина
Поиск
КАТАЛОГ ПРОДУКЦИИ
Запчасти УРАЛ
Запчасти КамАЗ
Запчасти АМТ
Запчасти ЧТЗ
Запчасти погрузчиков Dalian
Запчасти ЯМЗ
Двигатели ЯМЗ в сборе
Запчасти Shaanxi Fast Gear
Лебедки
Спецпредложения
О компании
Доставка и оплата
Гарантии и сервис
Контакты
Графические каталоги запчастей
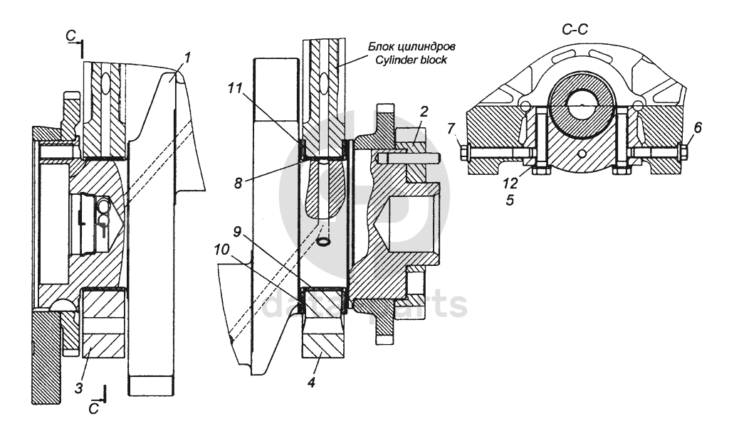
740.50-1005007 Установка коленчатого вала КамАЗ-53501 (6х6)
Главная
/
Графические каталоги
/
КамАЗ
/
КамАЗ-53501 (6х6)
/
740.50-1005007 Установка коленчатого вала
1
2
3
4
5
6
7
%
1
740.50-1005008
Вал коленчатый в сборе
Кол-во
1
?
Узнать цену
740.50-1005008
Вал коленчатый КАМАЗ-ЕВРО-2 (замена 966173)
Производство:
ПАО КАМАЗ
Под заказ
224 050
p
В корзину
2
7406.1005031
Шестерня коленчатого вала в сборе
Кол-во
1
?
Узнать цену
7406.1005031
шестерня
Производство:
ПАО КАМАЗ
Под заказ
10 138
p
В корзину
3
7405.1005170
Вкладыш подшипника коленчатого вала верхний
Кол-во
5
?
Оставить заявку
4
7405.1005171
Вкладыш подшипника коленчатого вала нижний
Кол-во
5
?
Оставить заявку
5
740.1005183
Полукольцо упорного подшипника коленчатого вала нижнее
Кол-во
2
?
Оставить заявку
6
740.1005184
Полукольцо упорного подшипника коленчатого вала верхнее
Кол-во
2
?
Оставить заявку
7
870458
Шайба 16,4х28
Кол-во
10
?
Узнать цену
870458
шайба
Производство:
ПАО КАМАЗ
Под заказ
106
p
В корзину
Получить консультацию
У нас большой опыт по подбору запчастей, и мы с радостью поможем вам найти нужную деталь, даже если вы не знаете ее артикул
Дмитрий Иванов
Директор отдела продаж
Мобильный номер:
8 (912) 474-74-74
E-mail:
td.uralval@mail.ru
Вы должны включить JavaScript чтобы использовать эту форму.
Ваше имя
Ваш телефон
Комментарий
Я соглашаюсь с
Политикой конфиденциальности
и даю согласие на обработку персональных данных.
Feed me
Отправить