Запчасти для грузовых автомобилей
8-800-555-32-41
Перезвоните мне
Отправить готовую заявку
0
Корзина
Поиск
КАТАЛОГ ПРОДУКЦИИ
Запчасти УРАЛ
Запчасти КамАЗ
Запчасти АМТ
Запчасти ЧТЗ
Запчасти погрузчиков Dalian
Запчасти ЯМЗ
Двигатели ЯМЗ в сборе
Запчасти Shaanxi Fast Gear
Лебедки
Спецпредложения
О компании
Доставка и оплата
Гарантии и сервис
Контакты
Графические каталоги запчастей
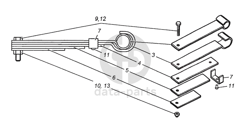
5320-5001080 Рессора кабины в сборе КамАЗ-53501 (6х6)
Главная
/
Графические каталоги
/
КамАЗ
/
КамАЗ-53501 (6х6)
/
5320-5001080 Рессора кабины в сборе
2
3
4
5
6
7
7
9
10
11
11
12
13
%
2
5320-5001085
Лист №1
Кол-во
1
?
Оставить заявку
3
5320-5001087
Лист №2
Кол-во
1
?
Оставить заявку
4
5320-5001089
Лист №3
Кол-во
1
?
Оставить заявку
5
5320-5001087
Лист №2
Кол-во
1
?
Оставить заявку
6
5320-5001093
Лист №5
Кол-во
1
?
Оставить заявку
7
5320-5001095
Хомут листа
Кол-во
1
?
Оставить заявку
9
1/13069/21
Болт М10х1,25-6gх30
Кол-во
1
?
Оставить заявку
10
1/21647/11
Гайка М10х1,25-6Н
Кол-во
1
?
Оставить заявку
11
1/05351/00
Заклепка 6х12
Кол-во
1
?
Оставить заявку
12
Болт М10х1,25-6gх30.109.016 ГОСТ 7798-70
Болт М10х1,25-6gх30.109.016 ГОСТ 7798-70
Кол-во
1
?
Оставить заявку
13
Гайка М10х1,25-6Н.4.016 ГОСТ 5915-70
Гайка М10х1,25-6Н.4.016 ГОСТ 5915-70
Кол-во
2
?
Оставить заявку
Получить консультацию
У нас большой опыт по подбору запчастей, и мы с радостью поможем вам найти нужную деталь, даже если вы не знаете ее артикул
Дмитрий Иванов
Директор отдела продаж
Мобильный номер:
8 (912) 474-74-74
E-mail:
td.uralval@mail.ru
Вы должны включить JavaScript чтобы использовать эту форму.
Ваше имя
Ваш телефон
Комментарий
Я соглашаюсь с
Политикой конфиденциальности
и даю согласие на обработку персональных данных.
Feed me
Отправить