Запчасти для грузовых автомобилей
8-800-555-32-41
Перезвоните мне
Отправить готовую заявку
0
Корзина
Поиск
КАТАЛОГ ПРОДУКЦИИ
Запчасти УРАЛ
Запчасти КамАЗ
Запчасти АМТ
Запчасти ЧТЗ
Запчасти погрузчиков Dalian
Запчасти ЯМЗ
Двигатели ЯМЗ в сборе
Запчасти Shaanxi Fast Gear
Лебедки
Спецпредложения
О компании
Доставка и оплата
Гарантии и сервис
Контакты
Графические каталоги запчастей
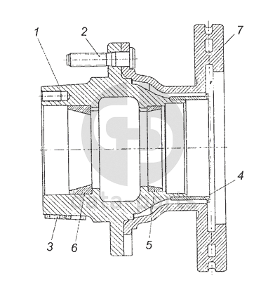
4308-3104010-42 Ступица заднего колеса с диском тормоза КамАЗ-4308 (Евро 3)
Главная
/
Графические каталоги
/
КамАЗ
/
КамАЗ-4308 (Евро 3)
/
4308-3104010-42 Ступица заднего колеса с диском тормоза
1
2
3
4
5
6
7
%
1
4308-3104015-40
Ступица заднего колеса
Кол-во
1
?
Узнать цену
4308-3104015-40
ступица
Производство:
ПАО КАМАЗ
Под заказ
23 244
p
В корзину
2
4308-3104071
Болт
Кол-во
8
?
Узнать цену
4308-3104071
Болт ступицы КАМАЗ-4308 колеса заднего
Производство:
ПАО КАМАЗ
Под заказ
1 226
p
В корзину
3
4308-3104074
Груз балансировочный
Кол-во
4
?
Оставить заявку
4
4308-3541121
Ротор датчика скорости
Кол-во
1
?
Узнать цену
4308-3541121
ротор датчика скорости
Производство:
ПАО КАМАЗ
Под заказ
7 987
p
В корзину
5
45104953002501
Кольцо наружное 2007117А.01 подшипника роликового конического однорядного 2007117А
Кол-во
1
?
Оставить заявку
6
45104953080101
Кольцо наружное 7815А.01-02 подшипника роликового конического 6-7815А
Кол-во
1
?
Оставить заявку
7
45104350104491
Диск тормоза 92 920 ф. Haldex
Кол-во
1
?
Оставить заявку
7
45104350101790
Диск тормоза 407900400
Кол-во
1
?
Оставить заявку
Получить консультацию
У нас большой опыт по подбору запчастей, и мы с радостью поможем вам найти нужную деталь, даже если вы не знаете ее артикул
Дмитрий Иванов
Директор отдела продаж
Мобильный номер:
8 (912) 474-74-74
E-mail:
td.uralval@mail.ru
Вы должны включить JavaScript чтобы использовать эту форму.
Ваше имя
Ваш телефон
Комментарий
Я соглашаюсь с
Политикой конфиденциальности
и даю согласие на обработку персональных данных.
Feed me
Отправить