Запчасти для грузовых автомобилей
8-800-555-32-41
Перезвоните мне
Отправить готовую заявку
0
Корзина
Поиск
КАТАЛОГ ПРОДУКЦИИ
Запчасти УРАЛ
Запчасти КамАЗ
Запчасти АМТ
Запчасти ЧТЗ
Запчасти погрузчиков Dalian
Запчасти ЯМЗ
Двигатели ЯМЗ в сборе
Запчасти Shaanxi Fast Gear
Лебедки
Спецпредложения
О компании
Доставка и оплата
Гарантии и сервис
Контакты
Графические каталоги запчастей
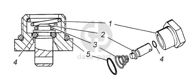
16-3513110 Кран слива конденсата в сборе КамАЗ-43501 (4х4)
Главная
/
Графические каталоги
/
КамАЗ
/
КамАЗ-43501 (4х4)
/
16-3513110 Кран слива конденсата в сборе
1
2
3
4
4
5
%
1
РП16-351320
Корпус
Кол-во
5
?
Оставить заявку
2
РП16-3513124
Толкатель
Кол-во
5
?
Оставить заявку
3
РП16-3514036-01
Пружина
Кол-во
5
?
Оставить заявку
4
007-012-025-2-3
Кольцо
Кол-во
5
?
Оставить заявку
5
020-024-025-2-3
Кольцо
Кол-во
5
?
Оставить заявку
Получить консультацию
У нас большой опыт по подбору запчастей, и мы с радостью поможем вам найти нужную деталь, даже если вы не знаете ее артикул
Дмитрий Иванов
Директор отдела продаж
Мобильный номер:
8 (912) 474-74-74
E-mail:
td.uralval@mail.ru
Вы должны включить JavaScript чтобы использовать эту форму.
Ваше имя
Ваш телефон
Комментарий
Я соглашаюсь с
Политикой конфиденциальности
и даю согласие на обработку персональных данных.
Feed me
Отправить