Запчасти для грузовых автомобилей
8-800-555-32-41
Перезвоните мне
Отправить готовую заявку
0
Корзина
Поиск
КАТАЛОГ ПРОДУКЦИИ
Запчасти УРАЛ
Запчасти КамАЗ
Запчасти АМТ
Запчасти ЧТЗ
Запчасти погрузчиков Dalian
Запчасти ЯМЗ
Двигатели ЯМЗ в сборе
Запчасти Shaanxi Fast Gear
Лебедки
Спецпредложения
О компании
Доставка и оплата
Гарантии и сервис
Контакты
Графические каталоги запчастей
5320-3726001 Установка сигнального фонаря бокового указателя поворотов КамАЗ-43261 (Евро-1, 2)
Главная
/
Графические каталоги
/
КамАЗ
/
КамАЗ-43261 (Евро-1, 2)
/
5320-3726001 Установка сигнального фонаря бокового указателя поворотов
%
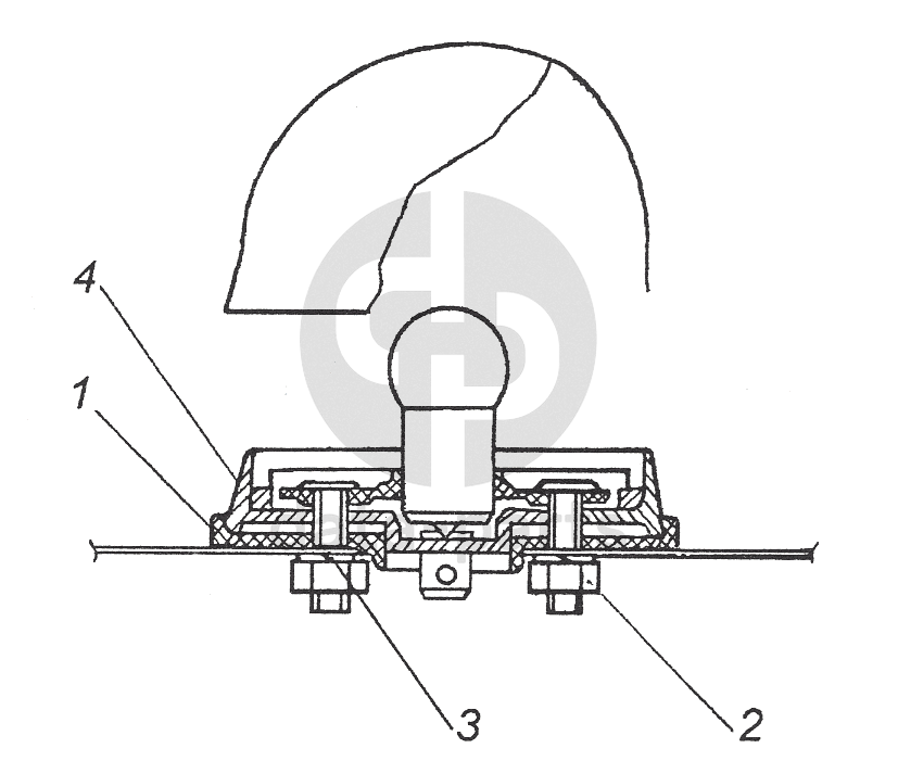
1
5320-3726041
Прокладка фонаря сигнального
Кол-во
1
?
Оставить заявку
2
1/58964/11
Гайка М5-6Н
Кол-во
2
?
Оставить заявку
3
1/26052/73
Шайба зубчатая 5
Кол-во
2
?
Оставить заявку
4
УП101-В-Т
Фонарь сигнальный в сборе
Кол-во
1
?
Оставить заявку
4
УП101-3726010-В-ГЧ
Повторитель боковой указателя поворота
Кол-во
1
?
Оставить заявку
1
532007-3726001
Установка сигнального фонаря бокового указателя поворотов
Кол-во
0
?
Оставить заявку
2
5320-3726001
Установка бокового повторителя указателей поворота
Кол-во
0
?
Оставить заявку
Получить консультацию
У нас большой опыт по подбору запчастей, и мы с радостью поможем вам найти нужную деталь, даже если вы не знаете ее артикул
Дмитрий Иванов
Директор отдела продаж
Мобильный номер:
8 (912) 474-74-74
E-mail:
td.uralval@mail.ru
Вы должны включить JavaScript чтобы использовать эту форму.
Ваше имя
Ваш телефон
Комментарий
Я соглашаюсь с
Политикой конфиденциальности
и даю согласие на обработку персональных данных.
Feed me
Отправить