Запчасти для грузовых автомобилей
8-800-555-32-41
Перезвоните мне
Отправить готовую заявку
0
Корзина
Поиск
КАТАЛОГ ПРОДУКЦИИ
Запчасти УРАЛ
Запчасти КамАЗ
Запчасти ЯМЗ
Двигатели ЯМЗ в сборе
Запчасти ЧТЗ
Запчасти погрузчиков Dalian
Лебедки
Спецпредложения
О компании
Доставка и оплата
Гарантии и сервис
Контакты
Графические каталоги запчастей
Установка кожуха радиатора КамАЗ-43114
Главная
/
Графические каталоги
/
КамАЗ
/
КамАЗ-43114
/
Установка кожуха радиатора
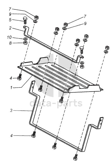
4310-1301005
1
2
3
4
5
7
8
9
10
%
0
4310-1301005
Установка кожуха радиатора
Кол-во
1
?
Оставить заявку
1
4310-1301400
Кожух радиатора защитный
Кол-во
1
?
Узнать цену
4310-1301400
Кожух КАМАЗ-4310 защитный радиатора
Производство:
ПАО КАМАЗ
Под заказ
3 551
p
В корзину
10
1/05202/01
Шайба плоская 16,8х28х3
Кол-во
2
?
Оставить заявку
2
4310-1301408
Кронштейн кожуха радиатора передний
Кол-во
1
?
Узнать цену
4310-1301408
Кронштейн КАМАЗ кожуха радиатора передний
Производство:
ПАО КАМАЗ
Под заказ
816
p
В корзину
3
4310-1301410
Кронштейн кожуха радиатора задний
Кол-во
1
?
Узнать цену
4310-1301410
кронштейн
Производство:
ПАО КАМАЗ
Под заказ
1 475
p
В корзину
4
1/60434/21
Болт М8-6gх20
Кол-во
6
?
Оставить заявку
5
1/13762/21
Болт М16х1,5-6gх35
Кол-во
2
?
Оставить заявку
7
251645
Гайка М8-6Н ОСТ 37.001.197-75
Кол-во
6
?
Оставить заявку
8
251649
Гайка М16х1,5-6Н ОСТ 37.001.197-97
Кол-во
2
?
Оставить заявку
9
1/05196/01
Шайба плоская 8х17
Кол-во
6
?
Узнать цену
1/05196/01
Шайба 8*17 1/05196
Производство:
АО ЯЗДА
Под заказ
18
p
В корзину
Получить консультацию
У нас большой опыт по подбору запчастей, и мы с радостью поможем вам найти нужную деталь, даже если вы не знаете ее артикул
Дмитрий Иванов
Директор отдела продаж
Мобильный номер:
8 (912) 474-74-74
E-mail:
td.uralval@mail.ru
Вы должны включить JavaScript чтобы использовать эту форму.
Ваше имя
Ваш телефон
Комментарий
Я соглашаюсь с
Политикой конфиденциальности
и даю согласие на обработку персональных данных.
Feed me
Отправить