Запчасти для грузовых автомобилей
8-800-555-32-41
Перезвоните мне
Отправить готовую заявку
0
Корзина
Поиск
КАТАЛОГ ПРОДУКЦИИ
Запчасти УРАЛ
Запчасти КамАЗ
Запчасти ЯМЗ
Двигатели ЯМЗ в сборе
Запчасти ЧТЗ
Запчасти погрузчиков Dalian
Лебедки
Спецпредложения
О компании
Доставка и оплата
Гарантии и сервис
Контакты
Графические каталоги запчастей
53501-1000250-50 Агрегат силовой КамАЗ-65111 (Евро 4)
Главная
/
Графические каталоги
/
КамАЗ
/
КамАЗ-65111 (Евро 4)
/
53501-1000250-50 Агрегат силовой
65117-1609010-10
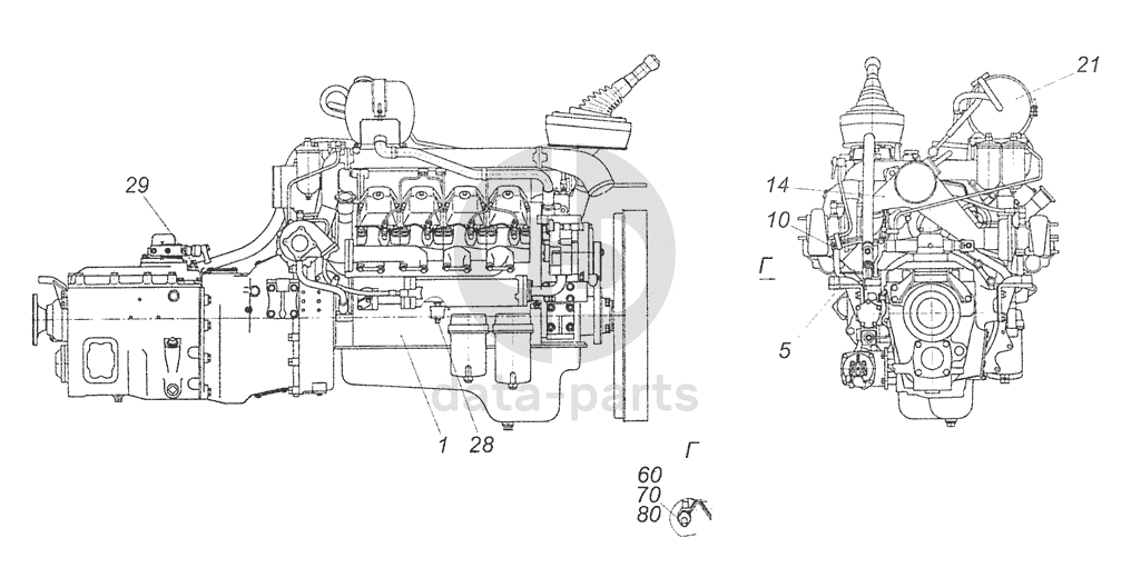
1
5
10
14
21
28
29
60
70
80
%
0
65117-1609010-10
Установка пневмогидравлического усилителя
Кол-во
1
?
Оставить заявку
1
740.622-1000302-30
Агрегат силовой
Кол-во
1
?
Оставить заявку
10
65115-1104004-70
Установка топливопроводов
Кол-во
1
?
Оставить заявку
14
6520-1109048-20
Установка тройника
Кол-во
1
?
Оставить заявку
21
65222-1311005
Установка бачка расширительного
Кол-во
1
?
Оставить заявку
28
740.62-3800001-55
Установка заглушек
Кол-во
1
?
Оставить заявку
29
740.55-3800002-10
Установка датчиков на коробке передач
Кол-во
1
?
Оставить заявку
5
65115-1001000-30
Установка кронштейнов силового агрегата
Кол-во
1
?
Оставить заявку
60
53205-8106065
Штуцер подводящий
Кол-во
1
?
Узнать цену
53205-8106065
Штуцер КАМАЗ отводящий ПЖД
Производство:
ПАО КАМАЗ
Под заказ
595
p
В корзину
70
1/60436/21
Болт М8-6gх25
Кол-во
2
?
Оставить заявку
80
1/05166/77
Шайба 8 пружинная
Кол-во
2
?
Узнать цену
1/05166/77
Шайба
Производство:
АО ЯЗДА
Под заказ
38
p
В корзину
Получить консультацию
У нас большой опыт по подбору запчастей, и мы с радостью поможем вам найти нужную деталь, даже если вы не знаете ее артикул
Дмитрий Иванов
Директор отдела продаж
Мобильный номер:
8 (912) 474-74-74
E-mail:
td.uralval@mail.ru
Вы должны включить JavaScript чтобы использовать эту форму.
Ваше имя
Ваш телефон
Комментарий
Я соглашаюсь с
Политикой конфиденциальности
и даю согласие на обработку персональных данных.
Feed me
Отправить