Запчасти для грузовых автомобилей
8-800-555-32-41
Перезвоните мне
Отправить готовую заявку
0
Корзина
Поиск
КАТАЛОГ ПРОДУКЦИИ
Запчасти УРАЛ
Запчасти КамАЗ
Запчасти АМТ
Запчасти ЧТЗ
Запчасти погрузчиков Dalian
Запчасти ЯМЗ
Двигатели ЯМЗ в сборе
Запчасти Shaanxi Fast Gear
Лебедки
Спецпредложения
О компании
Доставка и оплата
Гарантии и сервис
Контакты
Графические каталоги запчастей
53205-3570010-54 Установка пневмоцилиндра вспомогательного тормоза КамАЗ-43253 (Часть-2)
Главная
/
Графические каталоги
/
КамАЗ
/
КамАЗ-43253 (Часть-2)
/
53205-3570010-54 Установка пневмоцилиндра вспомогательного тормоза
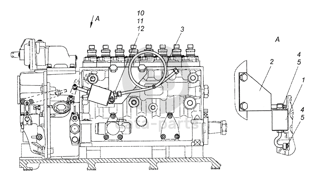
1
2
3
4
4
5
5
10
11
12
%
1
53215-3570105-54
Пневмоцилиндр вспомогательного тормоза
Кол-во
1
?
Оставить заявку
2
53205-3570090-54
Кронштейн
Кол-во
1
?
Узнать цену
53205-3570090-54
кронштейн
Производство:
ПАО КАМАЗ
Под заказ
846
p
В корзину
3
53205-3570120
Трубка в сборе
Кол-во
1
?
Узнать цену
53205-3570120
трубка
Производство:
ПАО КАМАЗ
Под заказ
602
p
В корзину
4
1/05194/01
Шайба плоская 6х12х1,5
Кол-во
2
?
Оставить заявку
5
1/07342/01
Шплинт разводной 2х15
Кол-во
2
?
Узнать цену
1/07342/01
Шплинт
Производство:
АО ЯЗДА
Под заказ
5
p
В корзину
10
853979
Штуцер ввертный 8
Кол-во
1
?
Узнать цену
853979
Штуцер КАМАЗ ввертный клапана М10х12
Производство:
ПАО КАМАЗ
Под заказ
133
p
В корзину
11
861022
Шайба 10
Кол-во
1
?
Узнать цену
861022
шайба
Производство:
ПАО КАМАЗ
Под заказ
42
p
В корзину
12
864269
Кольцо уплотнительное
Кол-во
1
?
Оставить заявку
Получить консультацию
У нас большой опыт по подбору запчастей, и мы с радостью поможем вам найти нужную деталь, даже если вы не знаете ее артикул
Дмитрий Иванов
Директор отдела продаж
Мобильный номер:
8 (912) 474-74-74
E-mail:
td.uralval@mail.ru
Вы должны включить JavaScript чтобы использовать эту форму.
Ваше имя
Ваш телефон
Комментарий
Я соглашаюсь с
Политикой конфиденциальности
и даю согласие на обработку персональных данных.
Feed me
Отправить