Запчасти для грузовых автомобилей
8-800-555-32-41
Перезвоните мне
Отправить готовую заявку
0
Корзина
Поиск
КАТАЛОГ ПРОДУКЦИИ
Запчасти УРАЛ
Запчасти КамАЗ
Запчасти АМТ
Запчасти ЧТЗ
Запчасти погрузчиков Dalian
Запчасти ЯМЗ
Двигатели ЯМЗ в сборе
Запчасти Shaanxi Fast Gear
Лебедки
Спецпредложения
О компании
Доставка и оплата
Гарантии и сервис
Контакты
Графические каталоги запчастей
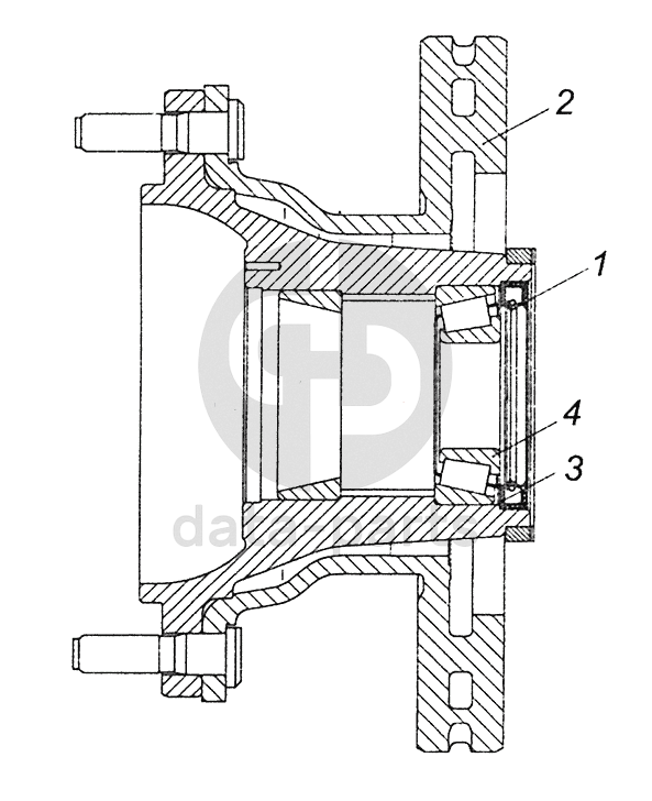
4308-3103009 Ступица колеса с диском тормоза, подшипником и манжетой КамАЗ-4308 (Евро 4)
Главная
/
Графические каталоги
/
КамАЗ
/
КамАЗ-4308 (Евро 4)
/
4308-3103009 Ступица колеса с диском тормоза, подшипником и манжетой
1
2
2
2
3
4
%
1
4308-3103018
Манжета в сборе
Кол-во
1
?
Оставить заявку
2
4308-3103010
Ступица колеса с диском тормоза в сборе
Кол-во
1
?
Оставить заявку
2
4308-3103010-03
Ступица колеса с диском тормоза
Кол-во
1
?
Оставить заявку
2
4308-3103010-04
Ступица колеса с диском тормоза
Кол-во
1
?
Оставить заявку
3
4308-3103083
Кольцо защитное
Кол-во
1
?
Узнать цену
4308-3103083
кольцо
Производство:
ПАО КАМАЗ
Под заказ
441
p
В корзину
4
45104953002600
Подшипник роликовый конический 27711А1 однорядный
Кол-во
1
?
Оставить заявку
Получить консультацию
У нас большой опыт по подбору запчастей, и мы с радостью поможем вам найти нужную деталь, даже если вы не знаете ее артикул
Дмитрий Иванов
Директор отдела продаж
Мобильный номер:
8 (912) 474-74-74
E-mail:
td.uralval@mail.ru
Вы должны включить JavaScript чтобы использовать эту форму.
Ваше имя
Ваш телефон
Комментарий
Я соглашаюсь с
Политикой конфиденциальности
и даю согласие на обработку персональных данных.
Feed me
Отправить